突发,广东一家传感器明星公司破产!深圳芯闻科技有限公司
昨日(1月21日),据深圳前海合作区法院公告显示,深圳芯闻科技有限公司(下文简称“芯闻科技”)已被申请破产审查。
据破产审查申请案号(2026)粤0391破申3号显示,1月14日,法院经申请人申请,“本院以你公司不能清偿到期债务,且资产不足以清偿全部债务为由,决定将你公司移送破产审查。本院立案受理后,依法进行审查。”,公告公示期为7天,今日(22日)已过公示期,正式被法院进行破产审查。
芯闻科技是我国嗅觉传感器产业的明星企业。
截止本文发布,芯闻科技官方渠道未有回应,其官网亦已不能正常访问,后续企业重组信息请以官方公布或法院信息为准。

全球最早的嗅觉传感器商业化公司之一,实现全链条国产化,终结技术垄断
资料显示,芯闻科技最早在2013年就已成立项目团队,是全球较早研发出仿生电子鼻嗅觉识别传感器芯片的高科技公司,2021年1月,团队注册成立芯闻科技。
芯闻科技的仿生电子鼻嗅觉识别芯片是模拟鼻子概念,通过专业算法辨别、分析气味反应后产生的电子信号,之后与数据库进行对比,得出最终结果。
芯闻科技的核心技术是一款基于MEMS化学分析传感器系统的SIP模块芯片,已经成为嗅觉识别技术的领军者。这款芯片能够响应几乎所有气味,并能侦测各种气味混合物,产生多维度的指纹讯号。其高灵敏度(ppm级别)和低功耗(mw级别)特性使其能够实现24/7的连续监测。而且成本低、体积小,非常适合网格化、天地一体化的智能监控系统,远超传统的单一传感器解决方案。

截止2022年8月,芯闻科技拥有全流程完全自主的知识产权与55项技术发明专利,实现供应链的国产化,终结国外芯片领域的“卡脖子”技术垄断。
芯闻科技先后与深圳技术大学、上海复旦大学、上海交通大学、上海大学、常州工学院等高校进行深度合作与研究,实现产学研一体化发展,在核心技术、智能发展、数据库等方面取得了重大突破。 芯闻科技认为,其仿生电子鼻嗅觉识别芯片的微型化等特点,有利于嗅觉传感器走出实验室赋能到各个行业中。


据此前芯闻科技的官方宣传资料显示,在嗅觉传感器的商业化应用方面,芯闻科技已探明的合作行业有300多个,包括工业B端、民用产业等,与国内多家中大型企业建立了合作关系,芯闻科技曾介绍了其多个重大项目信息,包括: 胜利油田的项目中,芯闻科技为胜利油田的关键泄漏点提供在线监测数据,为无人值守提供气味方面的数据和建议,最终助力胜利油田降本增效,安全生产;在广州石化的项目中,芯闻科技产品主要用于解决目前石化企业在泄漏溯源方面的难题,同时也帮助石化企业打造环境、泄漏、管理监测平台;在东营河口的项目中,芯闻科技产品为园区精细化管理提供气味数据,并推进园区数字化、智能化发展;在燕山石化的项目中,芯闻科技赋予巡检机器人鼻子的功能,使其在工作过程中实现气味巡检地图,建立危险源泄漏“点面域”立体监测预警等等。
此外,芯闻科技还参与了国家行业气味标准的建立,相关嗅觉气味数据库的建设工作等,并大力布局嗅觉传感的人工智能、大数据等融合应用。
据芯闻科技官方公众号新闻报道,公司获得了多个大学、省市领导的考察。
从芯闻科技的产业合作中,可以看到,芯闻科技可谓是我国嗅觉传感领域的“明星”企业,备受多个机构关注。

作为嗅觉传感明星企业,芯闻科技为什么戛然而止?
事实上,芯闻科技的经营困难,在2024年已有苗头。 2024年4月,深圳南山区人力资源局对芯闻科技拖欠多达41名员工的工资,做出了行政处罚。

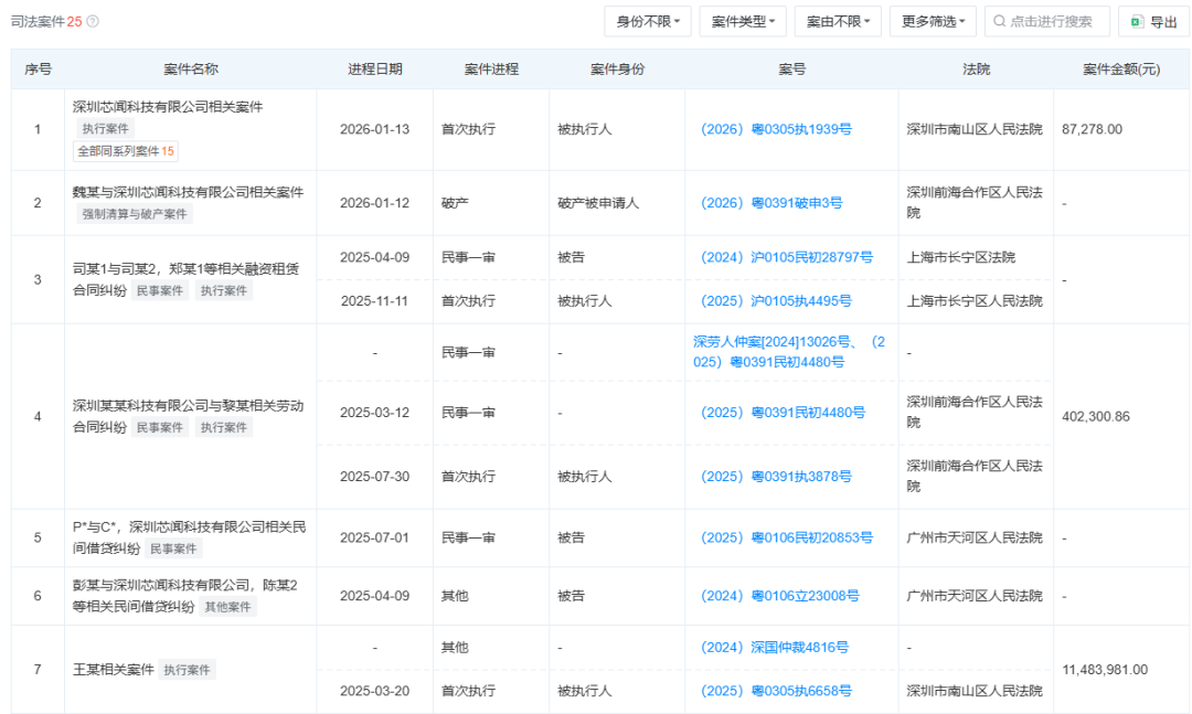
此后,进入2025年,芯闻科技危机加剧,全年涉多起司法案件,7月19日被列入失信被执行人名单,未履行金额达186.6万元,9月16日又新增被执行人记录。
除司法纠纷外,芯闻科技股权冻结涉及金额累计达1750万元,同年8月2日被下达限制消费令。
截止本文发布,据天眼查数据显示,芯闻科技涉案金额共计为1928.15万元,司法案件25起。


融资情况上,成立以来,芯闻科技仅披露过一次公开融资,即发生于2023年6月的A轮融资,投资方为广纳基金。

值得一提的是,在2025年8月,据官方公众号【常平发布】报道,位于常平镇朗洲村的芯闻科技嗅觉芯片终端产品生产制造项目动工建设,该项目总投资金额约4亿元,总建筑面积约7万平方米,项目建成后将从事嗅觉终端产品加工、生产、销售及智能包装材料生产制造,预计年产嗅觉终端产品20万套。 目前,暂未查询到该项目更多信息。

什么是电子鼻?处于产业化初期的嗅觉传感
从上文介绍中,我们看到,芯闻科技从事的,是传感器领域中的前沿技术——嗅觉传感技术。
嗅觉传感亦是目前人类核心感知能力——视觉、听觉、味觉、嗅觉、触觉中,尚未攻克并实现商业化的关键感知能力,是人形机器人的关键感知缺陷之一。
电子鼻也叫气味扫描仪,是一种模仿人类嗅觉功能的新型气体检测设备。电子鼻技术在20世纪中叶出现,在20世纪90年代开始快速发展。电子鼻系统主要由气体传感器阵列和模式识别模块两部分构成,通过传感器阵列可以快速获取被测样品的信息,通过模式识别系统挖掘出被测样品中不易被发现的特征。
气体传感器阵列是电子鼻的核心组件。单一的气体传感器通常对多种气体具有广谱响应,难以直接通过传感器的响应值判断气体的种类和浓度。因此,集成多种气体传感器形成阵列可以显著扩展系统的识别范围和检测能力。模式识别模块通过机器学习算法模拟生物识别气味的信息处理机制,对传感器阵列输出的信号进行分析和处理,从而完成气体种类的识别和浓度预测等任务。

▲人体和电子鼻对气味识别过程原理对比
进入21世纪,电子鼻技术逐步拓展至食品健康、医疗诊断和环境监测等关键领域。目前,电子鼻系统正朝着深度学习、多模态传感器融合以及物联网和实时检测的方向发展。在复杂的气体环境中,单一传感器仍难以精准识别气体。将传感器阵列与模式识别相结合的策略逐渐成为研究热点。通过结合传感器阵列的多维响应和模式识别算法的智能分析,电子鼻技术在食品质量与安全、环境监测以及医学诊断等领域展现出了广阔的应用前景。
电子鼻的硬件的最关键部分就是敏感元件,敏感元件分为电阻型、电容型、场效应管型、电化学型、热导型、等类型气体传感器。人工嗅觉系统运行过程是由传感器阵列与气体发生反应,采集气体响应数据,通过模式识别的方法去处理数据,从而实现对目标气体的快速分析识别。

▲气体传感器敏感元件类型
以气敏材料类型为金属氧化物半导体的分立式传感器阵列为例,当待测气体经由气敏材料表面并发生氧化还原反应时,敏感材料的电阻随之发生改变,进而导致了测量电压的变化。通过将模拟信号转换成易于处理的数字信号,再结合适当的算法进行模式识别,最终可得到混合气体中各组分气体浓度与类别的量性分析值。
广阔的电子鼻应用场景
凡有气味处,皆是电子鼻潜在应用场景,电子鼻作为一种新兴智能感官仪器,是通过模拟人类嗅觉系统来实现对检测对象的品质评价,主要通过气味指纹信息对气体或挥发性成分做定性或定量的检测,目前已开始应用于食品、医学、轻工业、卫生、军事以及环境保护等行业。 电子鼻技术作为人工智能驱动的新型嗅觉工具,正凭借其独特优势在众多领域发挥巨大潜力。 食品领域中,电子鼻快速无损地监测质量与安全,守护人类健康;环境监测里,电子鼻实时追踪有害气体,助力污染防治;医学诊断上,电子鼻辅助疾病嗅探,为精准医疗添砖加瓦。
近几年,电子鼻技术在能源产业应用得到不断拓展,在传统能源产业中,核电是一类典型的大规模发电形式,在核电站的一 回路水中,需要实时监测氢气的浓度。在能源相关的特高压输变电行业,特高压变压器需要采用电子鼻对变压器内部的气体如氢、糠醛、SF6等气体进行实时监测。在新能源产业中,新能源汽车中锂离子电池的热失控管理和电子鼻紧密相关。电池在失效前期/早期,电池内会有CO、H2等气体产生和泄漏,早期监测这些气体的产生可以为新能源电车、锂离子电池储能装置等新能源产业产品提升安全性, 降低热失控损失。
这些应用市场需求的增加,驱动电子鼻市场规模的扩大。
结语:缺乏杀手级应用的嗅觉传感
截止本文发布,虽然芯闻科技被执行破产审查,但最终结果仍有赖于企业等多方的博弈,相关信息请以官方公布或法院信息为准。
芯闻科技所处的嗅觉传感赛道,是众多传感领域中,较前沿的传感赛道之一。除了在技术领域存在的瓶颈外,嗅觉传感与与视觉、听觉等刚需的感知能力不同,在产业届尚未看到大规模的“杀手级”应用场景的诞生,这或许才是嗅觉传感技术突破和产业化发展如此缓慢的关键原因。
与嗅觉传感技术形成强烈对比的,是触觉传感技术,随着人形机器人/具身智能的普及,以电子皮肤、灵巧手等为代表的触觉传感技术,得到迅猛发展,相关触觉传感初创企业获得众多资本青睐,触觉传感产业化加速推进。
嗅觉传感的大规模“杀手级”应用何时出现?
